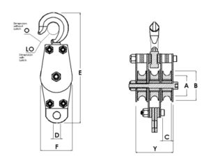
Deadman-Swivel-Hook-Pulley-Block Deadman swivel hook pulley block Post author By Red Spot Design2 Post date August 25, 2020 No Comments on Deadman-Swivel-Hook-Pulley-Block Leave a Reply Cancel replyYou must be logged in to post a comment.